SMC软磁复合材料在电机中的应用研究
2016-02-25 15:57:33
SMC软磁复合材料在电机上有广泛的应用
1.横向磁场电机
横向磁场电机和爪极电机很相似,是一种高功率密度电机,图一是Mecrow BC等研究的电机轴向剖面示意图。这款电机是三维磁场分布,结构复杂,用矽钢片做铁芯非常困难,适合采用SMC,样品机总共有100极。实验表明该样品机有效材料产生的转矩可达到13(N.M)/kg,比一般的感应电动机高很多。

图一 横向磁场电机

图一 横向磁场电机
悉尼技术大学也研制了一种横向磁场SMCs电机,该样品机额定功率为640W,额定频率300Hz,额定转速1800r/min,使用外转子结构,总共有20极,定子外径80mm(采用的是SMCs),转子内径92mm,外径94mm。横向磁场电机采用了更多的磁钢,其转矩密度更高,达到3576(N.M)/kg。
2.轴向磁场电机
轴向磁场电机优于其结构紧凑和高转矩密度的特点,在过去的几十年里得到了广泛的应用。图二是一款采用SMCs的轴向磁场永磁无刷直流伺服电机,表面磁钢,环形绕组放在开槽的SMCs铁芯中,样机的最大扭矩达到2.6N.M,转速为2500r/min,6极18槽,电机外径40mm,内径25mm,定子的轴向长度是20mm,使用的钕铁硼永磁。

图二 轴向磁场电机

图二 轴向磁场电机
图三是双定子式轴向磁场永磁同步电机,样品机的转子在两个定子中间,优点是可以减少磁钢用量,由于转自结构比较复杂,用矽钢片很难实现,所以采用SMCs。样品机的转速450r/min,额定效率78%,磁铁使用的是钕铁硼永久磁铁。

图三 双定子式轴向磁场永磁同步电机

图三 双定子式轴向磁场永磁同步电机
3.垂直电机
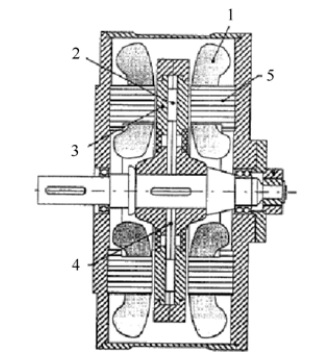
图四是瑞典G.Nord与P.Jansson研制的新型垂直电机。这种电机与传统的电机相比有很大的差别,定子磁极和转轴是平行的,上面放置集中式绕组,磁力线在定子磁极里与轴向平行,转自表面磁铁,径向充磁,与定子磁路垂直,采用三维磁路结构。定子使用SMCs,这种电机的气隙距转轴的距离要比传统电机大,同样的力度可以产生较大的转矩。

图四 垂直电机
上一篇 SMCs软磁复合材料在爪极电机上的应用

图四 垂直电机
上一篇 SMCs软磁复合材料在爪极电机上的应用




版权© 2016 深圳市日升昌磁业科技有限责任公司